head.gif (21430 bytes)

 

 Toroidal Devices For High Pressure Generation

Toroid-type devices

(The toroid-type high-pressure-high-temperature apparatus and assemblies for electrical measuremens at high pressure in a hydrostatic environment)


The toroid-type high-pressure-high-temperature apparatus is rather simple in design and operation and allows to generate pressure in the range of 9-12 GPa with a working volume of 1-0.3 cm3. The advantages of the apparatus are its convenience for introducing a fluid-filled capsule and numerous electrical leads. It makes possible measurements of electric, thermal, magnetic and volume properties of matter in a hydrostatic environment at room and elevated temperatures as well as material synthesis experiments. (*Recent developing a design gave rise to a new generation of the high-pressure toroidal devices which extends the pressure limits to 15 GPa in 0.3 cm3 working volume.


  History Of  The Toroid Device Creation

Basics Of The Toroid Device Operation

Main Advantages And Useful Features Of Toroid Devices

Examples Of Experimental Methods

Publications


History Of  The Toroid Device Creation

         The high pressure device capable of producing pres-sures greater than 5 GPa at high temperatures in a large working volume is an important part of high-pressure technology. Many experiments in physics, geoscience and material science need combination of large volume and high pressure conditions. Two main types of these devices are widely used: the belt and the multianvil press. The belt, capable of producing a few runs up to 8 GPa in a working volume more than 1.0 cm3, is usually not used above 6 GPa to avoid rupture. The same is true for the multianvil press.
         When the problem of synthesis of superhard materials (namely diamond) at high pressure arose in the Soviet Union, other kinds of high pressure devices were invented. First, around 1960, the so-called recess type anvil device was developed at the Institute for High Pressure Physics; it became wide-spread in the Soviet Union. The recess type anvil apparatus has working parameters similar to those of the belt: the routine pres-sure is 6 GPa with possibility to make a few runs up to 8 GPa, but the electrical leads to the high pressure zone break often. However, it is cheaper than the belt, and is more simple in operation. The powerful diamond industry was created in the Soviet Union based on the recess type anvil apparatus. The usable pressure of 6 GPa is sufficient to produce diamond powder and then to sinter this powder with the binder.
          The next step in the progress of the Soviet diamond industry, high pressure physics, and geoscience was connected with the so-called toroid device, also invented at the Institute for High Pressure Physics [Khvostantsev et.al., 1977; Khvostantsev, 1984] and protected by the patents of leading industrial states such as USA, Japan, Germany, France, Great Britain. The special features of toroid type apparatus will be described below. In this section it should be noted that the higher usable pressure of the toroid device made it possible to produce large polycrystalline diamond samples, analogous to natural carbonado.
           As a matter of fact, the toroidal and recess type anvil devices were nearly unknown to researchers outside the Soviet Union. The first in the West who evaluated the usefulness of toroid device was Besson (France). For many years his group tried to develop a miniature toroid device for neutron diffraction experiments above 10 GPa. This attempt was successful [Besson et al., 1992] and now the toroid device with 100 mm3usable volume operates in the nuclear centers in Grenoble, Edinburgh, and Los Alamos for structure determination of solids and liquids above 10 GPa.
           Presented here is the original design of the toroid device manufactured at the Institute for High Pressure Physics. “Toroid” passed the test for more than twenty years of diamond and other materials synthesis and of other physical experiments in the pressure range of  about 10 GPa.


Basics Of The Toroid Device Operation

 
Reliable operation of electrical leads on loading and unloading (multiple loading-unloading cycles are also possible). The number of electrical leads is limited only by the diameter of the high pressure region and the thickness of the adjacent leads. Typically there are 12 leads in the experiments where the physical properties are measured.

The geometry of the toroid cell allows introduction of a liquid-filled ampoule in the high pressure zone. The combination of compression and flow of the gasket material permits the ampoule deformation under pressure to be uniform and the final shape of ampoule is  nearly the same as before compression. The hydrostatic sample environment is favorable for work with single crystals.

The device can be easily adopted for material synthesis experiments. In this case the solid pressure transmitting medium, heater, and sample (or metal ampoule, containing liquid and sample) are placed in the central part of a gasket. The sample can be treated at temperature up to 20000 with the temperature control by a W-W(Re) thermocouple.

Large working volume of the device is its outstanding feature that allows the fabrication of the large-sized superhard polycrystalline products such as "Corbonado" from diamonds or boron nitride.

           Compared to similar devices designed elsewhere, for instance the "Belt" unit, the toroidal device is capable of developing higher pressure in a larger volume, thus enabling the synthesis of large-sized polycrystalline products.


Examples Of Experimental Methods

           The toroid device is nearly ideal for studies of physical properties that can be realized on the basis of electrical measurements. The authors have succeeded in measurements of electrical resistivity, thermopower, thermal conductivity, differential thermal analysis (DTA), magnetic susceptibility, volume change under pressure via strain gauge technique and so on. It became possible to use most of the methods mentioned above at elevated temperatures up to 6000C (thermal stability limit of liquid) with precise control of pressure by a manganin gauge. In this way the positions of phase transition points can be located with high accuracy and P-T diagrams can be constructed. The recent development of the strain gauge measurements allowed us to study problems of disordered systems (amorphous solids and porous media compacted from nanocrystall-ine powders).
           To illustrate the experimental possibilities of the toroid device, we consider briefly the design of liquid-filled ampoule for high temperature measurements of magnetic susceptibility and the strain gauge technique for studies of the equation of state at room temperature.
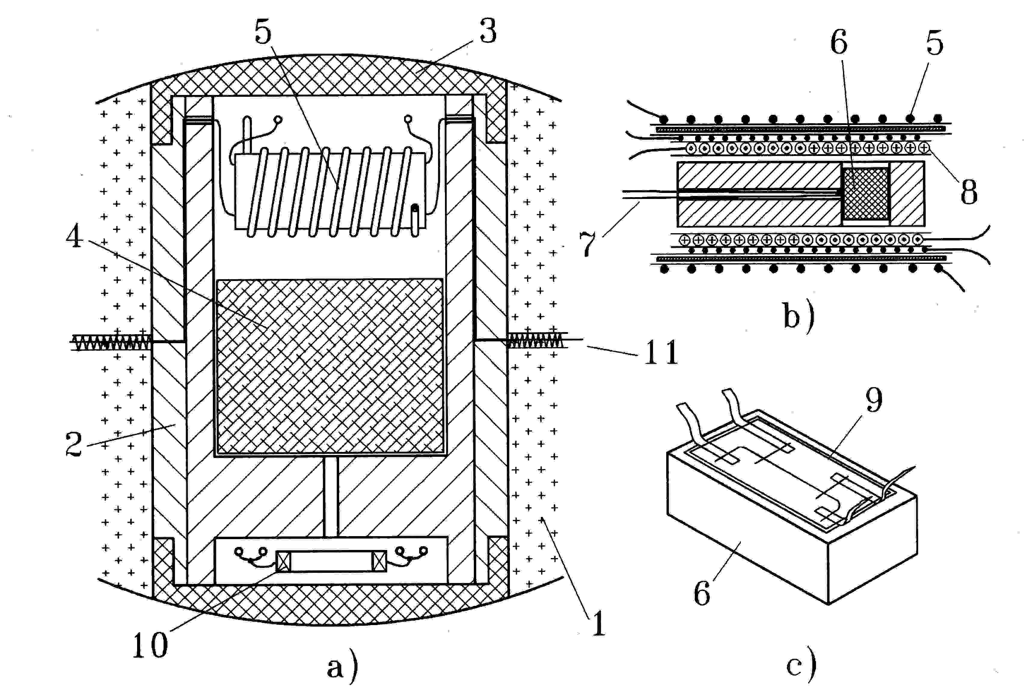
            The view of an ampoule is shown in figure 3a. It consists of teflon parts and metal lids and is placed in a hole made in the central part of a gasket. Figure 3

((a) liquid-filled ampoule for studies at hydrostatic pressure and high temperatures; (b) assebmly for magnetic measurements placed in the top part of an ampoule; (c) sample with the stain gauge bonded;
1-gasket (lithographic stone), 2-teflon ampoule, 3-lid, 4-thermal insulation (asbestos), 5-heater, 6-sample, 7-thermocouple, 8-coil system for magnetic measurements, 9-strain gauge, 10-manganin pressure gauge, 11-electrical leads.)

          The electrical leads trough the gasket region are made from a wire (0.5 mm in diameter) enclosed in the tube made of the wire material. Thin wires connected to the sample or thermocouple are introduced into the same tube from the side of an ampoule. Very convenient method to prepare the enclosing tube is to wound it with the use of appropriate wire and rod. This wounded tubes help to prevent lead rupture. Pressure measurements are done with the use of manganin gauge, its resistance change under pressure being linear up to 9 GPa in the hydro-static environment [Khvostantsev and Sidorov, 1981]. The liquids used are methanol-ethanol (4:1) and petroleum ether. The pressure gauge is placed in the bottom part of an ampoule. The wire heater, sample, and thermocouple are placed in the top part, which is separated from the pressure gauge by porous thermal insulation material. This assembly allows us to make measurements of various physical properties or P-T treatment of the sample in a well characterized pressure and temperature conditions. The sample assembly for measurement of a magnetic susceptibility is shown in Figure 3b. It was used to study the Curie point and spin reorientation transitions under pressure in some invars and Geusler alloys [Sidorov and Khvostantsev, 1994; Gavriliuk et al., 1996]. A system of two measuring  and one exciting coils is placed inside the heater. Measuring coils, connected in series, have equal number of turns and are wounded in opposite directions. When excited by an alternating current via exciting coil, the measuring coil system exhibits nearly zero voltage output signal without the sample or with the sample in nonmagnetic state. The sample, placed inside one of the coils, causes the large output signal which depends on its magnetic susceptibility. The example of pressure dependence of magnetic susceptibility of two invars can be seen in Figure 4.
 

( Pressure dependence of magnetic susceptibility for invar materials Er2Fe14B and  Fe65Ni35. Spin reorentation transition  and disappearance of ferromagnetism are clearly seen)

              Some examples of differential thermal analysis, thermopower and electrical resistance measurements for solid-solid and solid-liquid phase transitions at high temperature up to 600 0Cand pressure up to 9 GPa can be found elsewhere [Khvostantsev and Sidorov, 1984].
 The strain gauge technique was developed for measurements of volume change at high pressure [Tsiok et al., 1992].  A miniature single-wire strain gauge is bonded to the  sample surface (Figure 3c). The gauge is made from 20 mkm constantan wire. The sample may be single crystal, amorphous solid, or powder compact.  In the latter case the sample is prepared by precompaction of a powder (confined in a latex envelope) by high-pressure liquid (at 0.2 GPa) and machining to a desired size. The sample with a strain gauge bonded is then covered by thin elastic envelope (latex) preventing the penetration of pressure transmitting liquid in the sample. The relation  between length change of the sample and the resistance change of the gauge was derived and checked experimentally on the basis of NaCl and Al equations of state. This technique allows the precise quantitative measurement of volume change, the relative accuracy of measurements and resolution  being much better than that attainable in x-ray diffraction measurements. The resolution of a sample length change is 0.001%, that makes it possible to observe very weak peculiarities on the compression curve of a sample. The technique developed is very convenient for measurements in disordered systems (amorphous materials and compacts of ultrafine powder) where the use of diffraction methods is limited.


 
Publications

 


Our experience enables us to offer our help in various investigation and measurement problems.
Contact person:Dr. Valentin Ryzhov. E-mail: ryzhov@hppi.troitsk.ru

Back to HPPI Home Page


~ About HPPI ~ Brief history of HPPI ~ Scientific divisions ~ Scientific activities ~ Our products ~
~ Office of the director ~